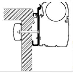
Thule Adapter Rapido Serie 7 & 8
- fahrzeugspezifische Wandadapter für Reisemobil
Rapido Serie 7 und 8 - passend für Thule Wandmarkisen Omnistor Serie 5, 8
- Anzahl Schienen: 3
- Set
- Auf Wunsch montieren wir Ihnen die Markise.
Hinweis bei Selbstabholung von Kunden aus der Schweiz
Fahrzeugteile wie Markisen können aus zolltechnischen Gründen nur bei unserer Übergabestelle in CH-5330 Bad Zurzach nach vorheriger Terminabsprache abgeholt werden. Wir übernehmen in diesem Fall für Sie die Verzollung kostenlos! Die Ware ist dann zahlbar bei Abholung und die deutsche MwSt wird Ihnen direkt abgezogen.










Rezensionen
Es gibt noch keine Rezensionen.